Guía LM en miniatura RSX
Nueva guía LM en miniatura con circulación optimizada para un movimiento suave
Características
Con el modelo RSX, las bolas ruedan en dos filas de canales de precisión sobre un raíl LM y un bloque LM, las placas finales incorporadas en el bloque LM permiten que las bolas circulen. El modelo RSX utiliza dos hileras de canales de rodadura que pueden ayudar a reducir el tamaño de un dispositivo porque tiene unas dimensiones externas más compactas que los modelos con cuatro canales de rodadura. A pesar de ser compacto, su estructura de contacto con las bolas puede recibir cargas en todas las direcciones y puede utilizarse individualmente en aplicaciones en las que se aplican cargas de momento.
Prevención de la corrosión
El modelo RSX utiliza un bloque LM, un raíl LM y bolas de acero inoxidable que tiene una alta resistencia a la corrosión.
Se evita que las bolas se caigan
El modelo RSX incorpora un cable de retención de bolas que evita que las bolas se caigan cuando se retira el bloque de LM del carril LM, lo que facilita el montaje.
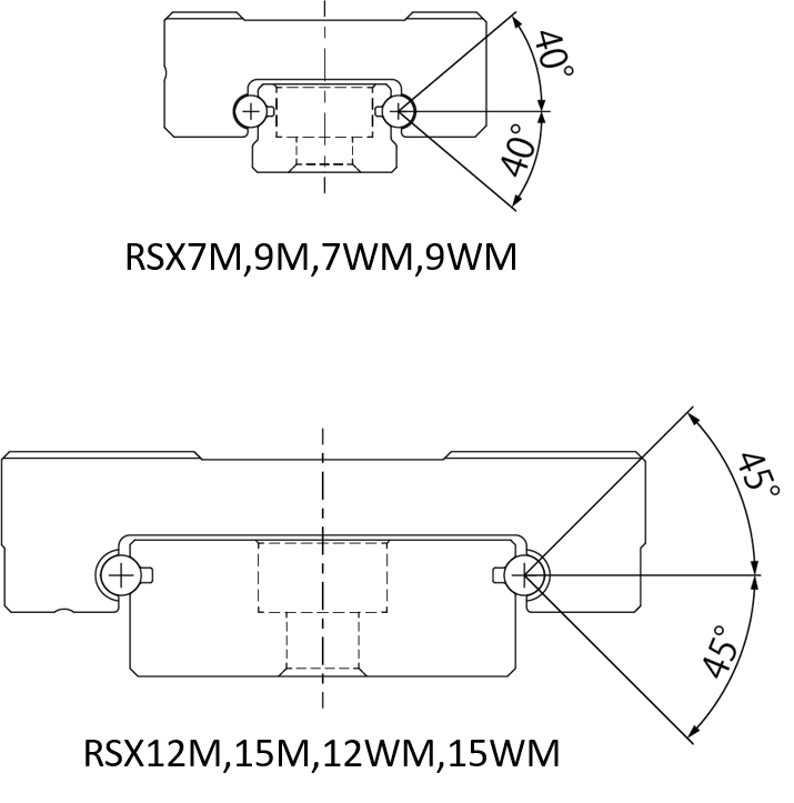
Modelo RSX estructura de canales de rodadura
El modelo RSX puede recibir cargas en todas las direcciones (4 direcciones).
Alineación del modelo RSX
| Tipo de bloque | 7 | 9 | 12 | 15 |
|---|---|---|---|---|
| RSX-M | 〇 | 〇 | 〇 | 〇 |
| RSX-WM | 〇 | 〇 | 〇 | 〇 |


