Guidage linéaire miniature RSX
Nouveau guidage LM miniature avec recirculation optimisée pour des mouvements fluides
Fonctionnalité
Avec le modèle RSX, deux rangées de billes roulent sur les pistes de roulement rectifiées avec précision sur le rail et dans le patin ; des plaques d'extrémité incorporées au patin permettent aux billes de recirculer avec une grande douceur de mouvement. La conception à deux rangées de billes contribue à réduire la taille des mécanismes assemblés, car les dimensions extérieures du guidage sont plus compactes que les modèles à quatre rangées de billes. Malgré cette compacité, les contacts entre billes et pistes de roulement permettent une reprise de charges dans toutes les directions et une utilisation individuelle même si des moments de renversement sont appliqués.
Prévention de la corrosion
Le rail, le patin et les billes du modèle RSX sont en acier inoxydable qui offre une bonne résistance à la corrosion.
Les billes ne peuvent pas tomber
Le modèle RSX intègre un fil de retenue des billes qui empêche celles-ci de tomber lorsque le patin est retiré du rail, ce qui facilite le montage.
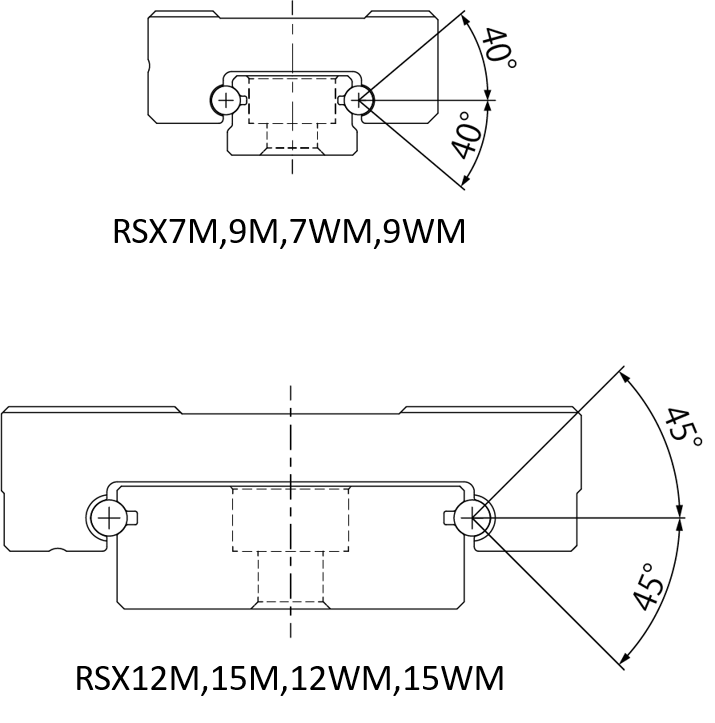
Angles de contact du modèle RSX
Le modèle RSX peut recevoir des charges dans toutes les directions (4 directions).
Gamme du modèle RSX
| Type de bloc | 7 | 9 | 12 | 15 |
|---|---|---|---|---|
| RSX-M | 〇 | 〇 | 〇 | 〇 |
| RSX-WM | 〇 | 〇 | 〇 | 〇 |


